为特定的应用选择正确的压力传感器,除了选择压力传感器的量程范围外,还必须考虑压力测量的类型。与参考压力相比,压力传感器测量的是一定的压力,因而可以分为绝对压力、表压和差压传感器。

图1 绝对压力、表压和差压的比较
绝对压力
绝对压力是指自由空间的真空度(零压力)。实际上,绝对压阻式压力传感器测量相对于密封在其传感膜片后面的高真空基准的压力。与要测量的压力相比,真空可以忽略不计。

图2 绝对压力传感器的原理(压阻技术)
绝对压力传感器用于测量气压计或高度计,此外,绝对压力传感器可确保在真空包装机中施加固定的真空压力以密封和保存食品,而不受当地日气压的影响。
表压
表压是相对于环境大气压测量的。海平面的平均大气压为1013.25mbar。由于天气条件或海拔高度而引起的气压变化直接影响表压传感器的输出。高于环境压力的表压称为正压。如果测得的压力低于大气压,则称为负表压或真空表压。通常,真空是基本上没有物质的空间体积。根据其质量,真空分为不同的范围例如低真空、高真空和超高真空。
表压传感器仅提供一个压力端口。环境空气压力通过通风孔或通风管引向传感元件的背面,因此得到补偿。

图3 表压传感器的原理(压阻技术)
表压测量的典型示例是轮胎压力的控制。高于环境压力的正压力决定了轮胎的性能。
在通风罐或敞开容器中进行静液压液位测量时,必须补偿大气压变化,以避免虚假的液位指示。既可以使用带通气管的液位探头,也可以采用带通气孔的外部安装螺纹的压力变送器。
在医疗技术中,在伤口治疗、手术或紧急应用中,负压器件会施加负的表压(真空)以去除分泌物或粘液。
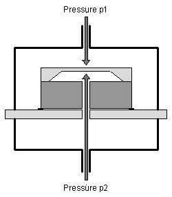
差压
压差是任意两个过程压力p1和p2之间的差。因此,差压传感器必须提供两个单独的带管或螺纹连接的压力端口。

图4 差压传感器的原理(压阻技术)
使用差压传感器,在医疗设备中确定呼吸流量,或在HVAC应用中控制空气流量。诸如层流元件或孔板之类的流动通道的内部限制对气流产生小的压降,这是体积流量的度量。差压传感器测量整个元件上的压降。
在过滤器监视中使用相同的原理,当过滤器开始阻塞流动阻力时,整个过滤器的压降将增加。差压传感器控制该压降,并在达到临界值时触发警报。